中学理科の定期テストでは、ガスバーナーの使い方や各部の名称、操作手順、安全確認が頻出です。
しかし、「点火の順番があやふや」「炎の色の違いが覚えられない」「実験操作の記述問題が苦手」という人も多いのではないでしょうか。
この記事では、定期テストによく出るガスバーナーの重要問題を厳選し、
✔ よく問われるポイント
✔ つまずきやすい操作ミス
✔ 得点につながる覚え方
を図解イメージで理解できるよう、解説・解答付きで丁寧にまとめています。
テスト直前の総復習から、実技問題・記述対策まで、この記事1本でしっかり対策しましょう。
【問題】ガスバーナーの使い方の重要問題
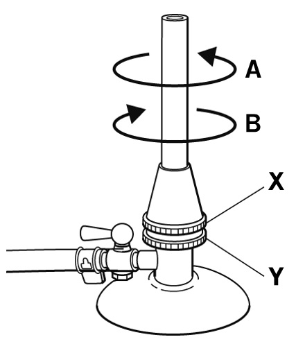
【問1】下の図は、ガスバーナーを表した図である。これについて、次の各問いに答えよ。

(1)上の図のねじXとねじYの名称をそれぞれ答えよ。
(2)ガスバーナーの正しい火のつけ方になるように。次のア~オを並び変えなさい。
ア ねじYを押さえたまま、ねじXを回す。
イ マッチに火をつけ、ガスバーナーの下から近づける。
ウ ねじYを回す。
エ ねじXとYが閉まっていることを確かめる。
オ 元栓とコックを開く。
(3)ガスバーナーに火をつけるとき、ねじはAとBのどちらに回すか。記号で答えよ。
(4)ガスバーナーの炎が適切であるのは、次のア~エのうちどれか。1つ選び記号で答えよ。
ア 黄色い炎
イ 青色の炎
ウ 無色の炎
エ 赤色の炎
(5)ガスバーナーの火を消すときの正しい順序になるように、記号を並べよ。
ア 元栓・コックを閉じる。
イ ガス調節ねじを閉じる。
ウ 空気調節ねじを閉じる。
【問2】次の問いに答えなさい。
- ガスバーナーの上の方にあるねじを何というか。
- ガスバーナーに点火するとき、最初に開くねじは何ねじか。
- ガスバーナーで適切な炎の色は何色か。
- ガスバーナーでマッチに火をつけるのは、ガス調節ねじを開く前か後か。
- ガスバーナーの火を消す場合、最初に閉めるのは何ねじか。
- ガスバーナーの炎が黄色で、すすが出ている場合、何の量が不足しているか。
- ガスバーナーの炎が透明で、ゴーっと音がしている場合、何の量が多いか。
【解答・解説】ガスバーナーの使い方の重要問題の解答
【問1】
(1)ねじX:空気調節ねじ ねじY:ガス調節ねじ
上の方が空気調節ねじ、下の方がガス調節ねじになります。
(2)エ→オ→イ→ウ→ア
ガスバーナーの点火方法は、まず、2つのねじが閉まっていることを確かめ、元栓・コックを開きます。ガス調節ねじを開く前に、マッチに火をつけ、ガスバーナーの口のところに下から火を近づけます。ガス調節ねじを回して点火し、炎を適切な大きさになるようにガスの量を調節します。最後に、ガス調節ねじを押さえた状態で空気調節ねじを回し、青色の炎になるように空気の量を調節します。
(3)A
Aの反時計回りが開く方向、Bの時計回りが閉まる方向になります。
(4)イ
黄色や赤色の炎は、空気が不足している状態です。ガスが不完全燃焼し一酸化炭素が発生するので危険です。無色炎は空気の量が多すぎる状態です。火が消える可能性があるので危険です。
(5)ウ→イ→ア
火を消すときは、上から順番に閉じていくと覚えておきましょう。
【問2】
- 空気調節ねじ
- ガス調節ねじ
- 青色
- 前
- 空気調節ねじ
- 空気
- 空気
コメント